-
Tätning insprutare Tohatsu MFS 25 EFI B+C - MFS 30 EFI B+C, 526 cc, 4-takt Nr 11 i bild Samma som Mercury art 8M0095063 Se sprängskiss för rätt del och antal, ...Art nr. 3AC-10303-1231,38 SEK
-
Tätning Tohatsu flera modeller 2-takt och 4-takt samt tätning växelarm 40 - 50 hk, 697 cc 2-takt Se sprängskiss för rätt del Nr 21 i bild 2 Samma som Mercury a...Art nr. 338-67147-038,74 SEK
-
Bussning riggrör Tohatsu M 8 B - M 9,8 B, 2-takt 169 cc Nr 22 i bild 2, 2 st åtgår per motor Samma som Mercury art 163366 Ers art. 3B2-62417-0Art nr. 3G0-62417-0105,18 SEK
-
Nylonbussning växelarm Tohatsu MFS 75 A - MFS 140 A, 4-takt Nr 28 i bildArt nr. 3SS-66221-045,58 SEK
-
Bussning Tohatsu MFS 25 D - MFS 30 D, 500 cc, 4-takt trim och gastiltmodeller Nr 19 i bild Samma som Mercury art 8M0187006Art nr. 3VS-77076-070,11 SEK
-
Kylvattenintag kavitationsplatta Tohatsu M 40 D - M 50 D, MD 40 A - MD 50 A, MD 40 B - MD 50 B, ej B2 Se sprängskiss för rätt del Samma som Mercury art 8537632Art nr. 3C8-60204-0129,71 SEK
-
Bricka, distans, växelhus Tohatsu M 25 C - M 30 A, 430 cc, 2-takt samt MFS 25 A+B+C+D - MFS 30 A+B+C+D, 4-takt 492 cc, 500 cc och 526 cc Nr 13 i bild 2 Samma so...Art nr. 346-64032-080,64 SEK
-
Bricka rigg Mercury, flera modeller 2-takt Se sprängskiss för rätt del Nr 12 i bild 2, som visar 25 hk, 430 cc Ers art 161403 Samma som Tohatsu art 346-62412-1Art nr. 87919400222,83 SEK
-
C-ring Mercury, passar flera modeller Se sprängskiss för rätt del Samma som Tohatsu art 945103-2200Art nr. 853714123,13 SEK
-
Kylvattenrör Tohatsu M 6 B - M 9,8 B, 2-takt 169 cc, lång rigg Nr 25 i bild 2 Samma som Mercury art 8037553Art nr. 3B2-65110-0347,08 SEK
-
Shims växelhus Mercury 9,9 - 18 hk, 247 cc, 25 - 30 hk, 430 cc, 2-takt samt F 9,9 - F 20 hk, 328 cc och 351 cc, F 25 - F30 hk, 4-takt Se sprängskiss för rätt del...Art nr. 81327601545,80 SEK
-
Shims växelhus Mercury 9,9 -18 hk, 247 cc, 25 - 30 hk, 430 cc, 2-takt samt F 9,9 - F 20 hk, 328 cc och 351 cc, F 25 - F30 hk, 4-takt Se sprängskiss för rätt del ...Art nr. 81327600550,36 SEK
-
Shims växelhus Mercury 9,9 -18 hk, 247 cc, 25 - 30 hk, 430 cc, 2-takt samt F 9,9 - F 20 hk, 328 cc och 351 cc, F 25 - F30 hk, 4-takt Se sprängskiss för rätt del ...Art nr. 81327600338,59 SEK
-
Topplock Suzuki DF 2,5 hk, 4-takt från 2020 Se sprängskiss för rätt del Nr 1 i bildArt nr. 11110-97J301 235,00 SEK
-
Shims växelhus Mercury 9,9 -18 hk, 247 cc, 25 - 30 hk, 430 cc, 2-takt samt F 9,9 - F 20 hk, 328 cc och 351 cc, F 25 - F30 hk, 4-takt Se sprängskiss för rätt del ...Art nr. 81327600144,63 SEK
-
Toppkylningspackning Suzuki DT 50 - DT 65 hk, 2-takt flera modeller Se sprängskiss för rätt delArt nr. 11162-947301 877,50 SEK
-
Shims 0,30 mm propelleraxel Tohatsu M 40 D - M 50 D hk, 697 cc, 2-takt Nr 49 i bild 2 Se sprängskiss för rätt del Samma som Mercury art 851860003Art nr. 353-64036-059,60 SEK
-
Shims 0,15 mm propelleraxel Tohatsu M 40 D - M 50 D hk, 697 cc, 2-takt Nr 49 i bild 2 Se sprängskiss för rätt del Samma som Mercury art 851860015Art nr. 353-64037-059,60 SEK
-
Shims 0,10 mm propelleraxel Tohatsu M 40 D - M 50 D hk, 697 cc, 2-takt Nr 49 i bild 2 Se sprängskiss för rätt del Samma som Mercury art 851860001Art nr. 353-64038-066,61 SEK
-
Shims, 0,1 mm, drivaxel Tohatsu M 6 B - M 9,8 B, 169 cc, 2-takt samt MFS 8 A+B+C - MFS 9,8 A+B - MFS 9,9 CY. 4-takt Se sprängskiss för rätt del och antal, säljes...Art nr. 3B2-64081-080,64 SEK
-
Shims, 0,15 mm, drivaxel Tohatsu M 6 B - M 9,8 B, 169 cc, 2-takt samt MFS 8 A+B+C - MFS 9,8 A+B - MFS 9,9 CY. 4-takt Se sprängskiss för rätt del och antal, sälje...Art nr. 3B2-64082-080,64 SEK
-
Shims drivaxel Tohatsu M 40 D - M 50 D 2-takt, MD 40 - MD 50 hk TLDI samt MFS 40 A - MFS 60 A, 4-takt Nr 29 i bild 2 Samma som Mercury art 8537954 32.9-26-0.5 mmArt nr. 3C8-64084-070,11 SEK
-
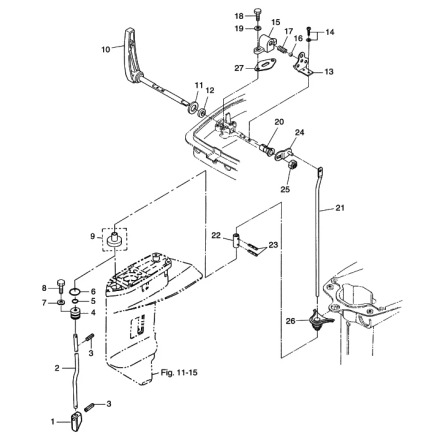
Nedre växelstång Tohatsu M 25 C - M 30 A, 430 cc 2-takt, kort rigg Nr 2 i bild Samma som Mercury art 161732Art nr. 346-66012-1420,69 SEK
-
Guide drivaxel Tohatsu MFS 25 D - MFS 30 D, 500 cc 4-takt Nr 14 i bild Samma som Mercury art 8M0186966 Se sprängskiss för rätt del.Art nr. 3VS-64328-0105,18 SEK